















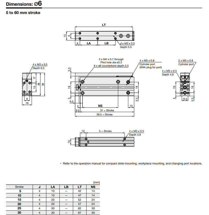
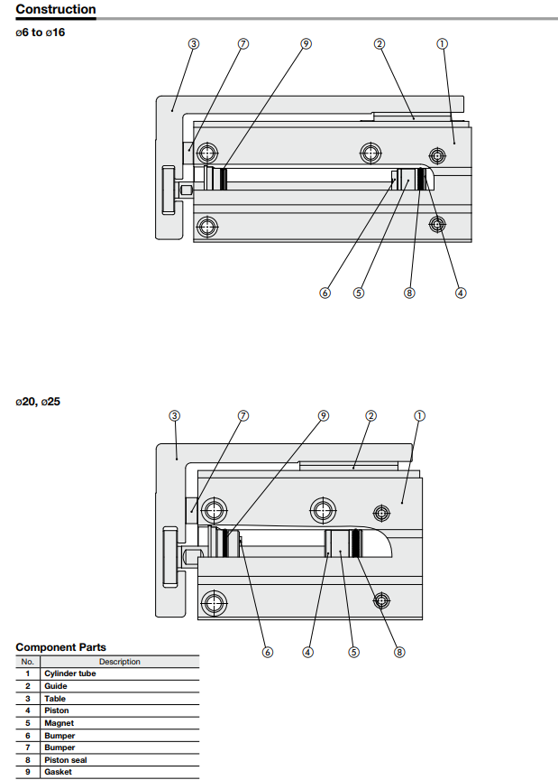
Compact Slide MXH2 Series ø6, ø10, ø16, ø20, ø25 MXH2B10-40Z
★★★★★4.90 Reviews
You May Also Like

Compact Slide MXH Series ø6, ø10, ø16, ø20MXH16-30Z
★ 5.0

Air Slide Table MXQ A Series MXQ8A-50Z
★ 5.0

Air Slide Table MXJ Series Double acting ø12, ø16
★ 5.0

Air Slide Table MXJ Series Double acting Φ4,Φ6,Φ8
★ 5.0

Air Slide Table Double-ported Type MXQ B Series ø6, ø8, ø12, ø16, ø20
★ 5.0

Air Slide Table Double-ported Type MXQ A Series ø6, ø8, ø12, ø16, ø20, ø25
★ 5.0
Picks for you

Vgate ICAR3 Black Vgate ICAR3 ELM327
9491 reviews 0 sold ★ 5.0

OBD2 ELM327 Bluetooth Car Detector
5527 reviews 0 sold ★ 5.0

EX-14A
2288 reviews 0 sold ★ 5.0

Linear bearing with flange, medium,LHFCD8
2004 reviews 0 sold ★ 5.0

BK100 Diagnosis instrument
8200 reviews 0 sold ★ 5.0

6AV3688-3EH47-0AX0Button type panel
7639 reviews 0 sold ★ 5.0

KW218 Automotive Fault Diagnosis Instrument Engine Fault Reading Fault Code Query Playback Function Testing Tools
8420 reviews 0 sold ★ 5.0

KW470 Automotive Fault Diagnosis Instrument Engine Fault Reading Fault Code Query Playback Function Testing Tools
708 reviews 0 sold ★ 5.0

BT380 Battery System Tester
7070 reviews 0 sold ★ 5.0

FZ-11P
1677 reviews 0 sold ★ 5.0

EQ-34-PN
7806 reviews 0 sold ★ 5.0

Pin Cylinders CJP Series CJPB16-15Z-B
1403 reviews 0 sold ★ 5.0